信息来源: 时间:2022-9-2
本节给出所选的几个实际模拟MOS信号处理器的示例,自然,读者在此阶段不要期望了解这些系统的细节,但是这些方块图可以给出关于这些器件在现代通信系统里的潜力的概念。

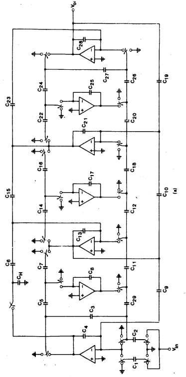
图1.5给出数字可编程开关电容低通滤波器(美国微系统公司“AMI” 商品号为S 3528)的方框图,在数字输入,选6比特数字(D0D1…D5),能以较小的步长来选择通带与阻带边频。MOS信号处理电路原理图分析。7阶开关电容滤波器的电路图绘于图1.6(a);测试得的响应示于图1.6(b)。


测得的通带增益变化小于0.06dB。这是很优良的性能,用任何其它模拟滤波器技术,不经过极度的修整是不能达到的。
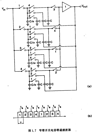
图1.7说明一个简单窄带开关电容滤波器的电路图。图1.8(a)给出总的衰减响应,图1.8(b)为通带细节;MOS信号处理电路原理图分析。对带宽小于0.2%。在模拟电路里,只有仔细修整的晶体滤波器或机械滤波器能有这些特性。



图1.9给出一个开关电容正弦波振荡器的电路图,能产生低失真波形,具有极精确控制的振幅值与频率值。MOS信号处理电路原理图分析。它的性能可与用离散电路实现的高质量可调振荡器相比。

图1.10为AMIS 3506编译码翠的方框图。除去相当数量的数字逻辑电路以外,此电路包含四个滤波器,一个非线性模数变换器,一个非线性数模变换器与一个片内电压参考电路。

图1.11说明Silicon系统公司设计的双音多频(DTMF)接收器的方框图。MOS信号处理电路原理图分析。此芯片包含一打滤波器、两个复用的零交叉检波器,一个功率调节器与电压参考电路以及大量的数字电路,芯片上运放的总数为37个。

最后,图1.12给出一个最近的语言频谱分析仪的方框图。这个电路将语言频谱分割成20个频带,所得20值变成9比特数位字,并存到输出缓冲级存储器,从那里能不同步的取出它们。采用时分复用(由于开关电容滤波器的抽样数据特性使此可能),只用30个运放可实现308个滤波器极点。MOS信号处理电路原理图分析。另外,芯片包含两个电压比较器,一个396比特的RAM与500个数字门。

上述诸例表明,今天的模拟MOS电路已达到一定的成熟,几乎在话频与音频段内的任一模拟信号处理任务已经都有可能用这样晌电路解决。MOS信号处理电路原理图分析。在制造技术与电路设计技术上还可能期待改进,这些电路的速度与动态范围将增长, 已许可它们用在大容量的应用,如视频系统、无线系统、图象处理、载频电话等等。
联系方式:邹先生
联系电话:0755-83888366-8022
手机:18123972950
QQ:2880195519
联系地址:深圳市福田区车公庙天安数码城天吉大厦CD座5C1
请搜微信公众号:“KIA半导体”或扫一扫下图“关注”官方微信公众号
请“关注”官方微信公众号:提供 MOS管 技术帮助

