信息来源: 时间:2022-7-27
前一章考虑了端电压随时间变化的MOS晶体管。但对这些电压变化量的大小未加任何限制。本章将考虑这样一种情况;端电压变化足够小,使所引起的微小电流变化与电压变化的关系可用线性关系式来表示。我们将要推导这样一些线性关系式,并研究用线性电路来表示它们。这些电路称为小信号等效电路。当这些电路的激励电压等于实际端电压的小变化量时,这些电路中产生的电流将等于实际晶体管电流的变化部分。这样一些模型在模拟电路设计中有着广泛的用途。
本章的大部分内容将集中讨论晶体管的本征部分(图7.1)。我们将首先推导出一种小信号模型,使它适用于当电压和电流的变化如此之慢,以致电荷存储效应可以忽略时的情况。然后,用准静态工作假设,再推导一种适用于中速变化的小信号模型。 这样一些模型对于许多应用来说已是足够的了。为便于讨论建模,假设电压和电流是正弦变化的。这样,人们常常讲频率而不讲“速度”,从现在起,我们将采用这一习惯。在讨论晶体管本征部分的模型之后, 将考虑非本征部分的建模问题。最后,我们将研究在晶体管内部所产生的噪声。
除非另有说明,否则与前一章一样,假设n沟器件的沟道长而宽,衬底是均匀的,迁移率为常数。
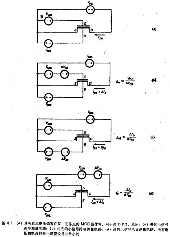
考虑一个偏压VGS、VSB和I´DS分别固定为VGSO、VSBO和VDSO值的n型沟道MOS晶体管,如图8.1a所示。令IDO是在上述偏压值条件下的ID值。通过每次改变其中一个电压的方法来研究偏置电压变化很小时,对ID的影响,如图8.1b、c和d所示。目前,我们仅对ID的直流稳态值的变化感兴趣,即假设在每一变化前后,电流ID均是常数,并且在两种情况下均已达到直流稳态值。然后考虑在两直流稳态值之间的这一变化ΔID。利用三个电导参数(它们可依次用图b.1b,c和d来测量)就能把原因和结果联系起来。这些参数是:
对应于图8.1b中的测量电路,在数学上,gm用下面的关系式来定义:

式中,竖线右边指明了保持不变的电压。

对应于图8.1c中的测量电路,我们有

如图8.1c所示,增加VBS就会减小VSB。由于认为体效应对ID影响的结果是使ID增大,因此ΔVBS对ID的影响与图8.1b中的ΔVGS的作用定性相同。在这种情况下,衬底的作用相当于第二个栅,常称背栅。
对应于图8.1d的测量电路,定义:

当ΔVGS,ΔVBS和ΔDS趋于零时,图8.1中的近似等于符号就变化了“等于”符号三个参数都具有电导的单位,将用μS来表示(S代表“西门子”,1S=1ʊ=1A/V)
现在来考虑三个电压同时都变的一般情况。这时,相应的漏瑞电流的总变化量是:

利用上面的定义,此式变为

此外,如果同前几章一样,假设栅和衬底的传导电流为零(无泄漏),则有

上述三个方程表示了小信号量之间的关系,并可用图8.2的小信号等效电路来表示。图8.2中的菱形符号表示受控电流源。

在前面的模型推导过程中,变化量ΔVGS,ΔVBS和ΔVDS分别表示端电压VGS,VBS和VDS的两个直流稳态值之差。然而,所导出的模型对于描述栅和衬底对漏端电流的影响来说是有效的,而且即使当这些变化量随时间连续变化时,只要电压变化足够慢,已致可忽略电容效应,这一模型仍用适用。在研究了更完整的模型之后,将用更好地理解这一点,并且也将给出更多的定量概念。于是,可以证明,当电压变化的频率降低时,更完整的模型就简化为图8.2中的模型。
在上面的定义中,我们按照通常的习惯,认为栅,漏和衬底的电势都是以源为参考点的。现在将分别推导各个反型区中的每一个小信号参数的表达式(在所有反型区中均有效的模型将在8.2.5节中讨论)。为了简单起见,在不会引起混淆的情况下,当提到小信号参数时,可能略去“小信号”几个字;例如,gd将称为“漏端电导”。
联系方式:邹先生
联系电话:0755-83888366-8022
手机:18123972950
QQ:2880195519
联系地址:深圳市福田区车公庙天安数码城天吉大厦CD座5C1
请搜微信公众号:“KIA半导体”或扫一扫下图“关注”官方微信公众号
请“关注”官方微信公众号:提供 MOS管 技术帮助

