信息来源: 时间:2022-5-31
栅-衬底电压对表面状态的影响
现在我们来考虑VGB对图2.4中含有Qc区域的状态的影响。假设衬底是p型的。下面按VGB等于,小于或大于平带电压VGB三种情况来讨论。
平带条件
这种情况已在2.2节中详细讨论过,并用图2.2e作了说明。根据有关的讨论,有

积累
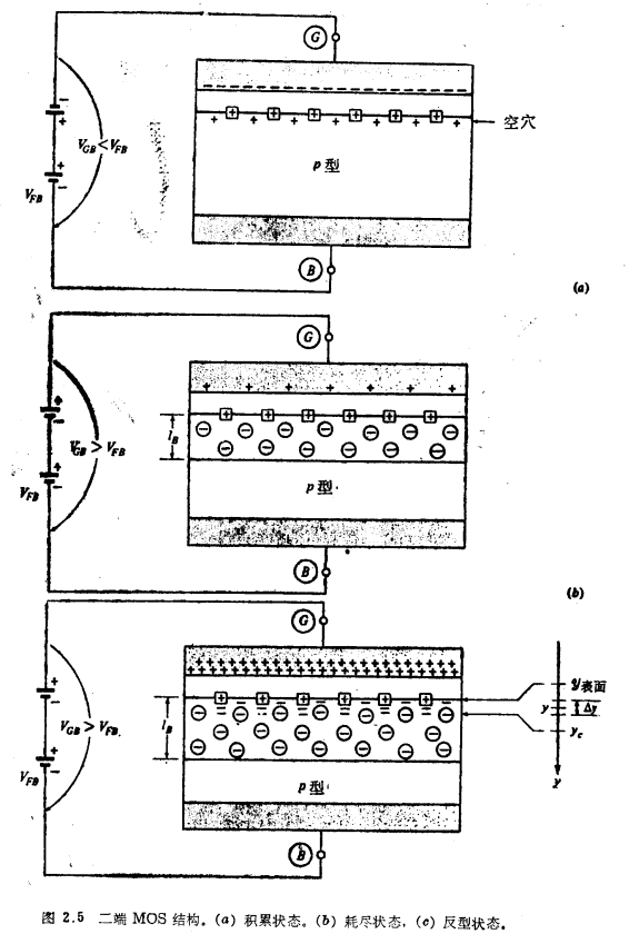
考虑VGB<VFB(例如,对于例2.1中的器件而言,这意味着VGB比-1.05V更负)时的情况。VGB的一个负变化量(相对于平带电压而言),将使Q´G产生一个负的变化量,按照式(2.3.4),它必定被Q´c的正变化量所平衡,这时Q´c比式(2.4.2)给出的数值高出这一正变化量。因此,空穴将在表面积累起来,这种情况称为积累,并用图2.5a说明。VGB的负变化量将被中ψox和ψs的负变化量所共同平衡,因而式(2.3.1)仍然成立。这样,在积累情况下,有

耗尽和反型
现在考虑VGB>VFB的情况。此时概上的总荷QG将变得比平带时的电荷(该值在图2.2e中为-Qo)更正些。一个例子示于图2.5b,该例中最终的Q´G为正。Q´G的这一正变化量(相对于平带而言)必定被Q´c的一个负变化量所平衡,以致式(2.3.3)仍然成立。由于式(2.3.1)也依然有效,故VGB的正变化量将由ψox和ψs,的变化共同分担。于是,我们有:

现在我们来考虑负电荷Q´c的本质。如果VGB不比VFB高很多,则表面相对于体内的正电势将只是驱使空穴离开表面,使表面空穴枯竭。这种状态称为耗尽,并用图2.5b说明。更精确地说,随着VGB增加到超过VFB,空穴浓度将一直减少到大大低于掺杂浓度值NA。实际上,Q´c来源于电离了的受主原子,每个离子贡献出电荷-q,我们可以设想存在着一个“耗尽区”,如同1.5节中pn结的p侧情况一样。
随着VGB进一步增加,更多的受主原子呈电离态,ψs变得足够正,以致把大量自由电子吸引到了表面,每个电子也将对Q´c(原文为Qc有误。——译者)贡献出电荷-qo注意,在我们所考虑的二端MOS结构中,这些电子来自耗尽区中由晶格热振动引起的(假设不存在幅射)相当缓慢的电子-空穴产生过程。最后,在足够高的VGB下,电子浓度将超过表面上的空穴浓度。这种情况与p型材料中通常预期的情况相反,所以称为表面反型。这种情况说明在图2.5c中①。

这里,我们应该提醒读者,在MOS研究工作中,术语区城通常有两种不同的含义。例如,“耗尽区”,可以指含有电离受主的物理区城,如图2.5b所示,或者可以指VGB(或ψs)的数值范围,在此范围内出现上面定义过的耗尽状态。究竞指哪一含义,通常根据上下文是能分清的。

氧化层阻挡了电流的流动,因而在衬底中平衡得以维持。在耗尽区之外,中性体内的深处,空穴和电子的浓度为po和no,由式(1.2.4)和(1.2.5)给出。我们可用式(1.2.7)把表面上的电子浓度与体内的电子浓度联系起来:

利用式(1.4.1a)和(1.4.16),上式可写为如下形式:

根据式(1.2.4),Po≈NA,故有

表面电子浓度与表面势的对应关系绘于图2.6中,在图中标出了一些有意义的点,在ψs=ΦF点,从式(2.4.11a)可见,n表面等于本征浓度ni,再根据式(1.2.6)便有n表面=P表面。
这一点被定义为耗尽区与反型区之间的分界点,如图所示。当然从式(2.4.11a)可见,即使在耗尽区,n表面也不为零。但是,即使ψs只比ΦF小几个Φt,n表面也将比ni小得多。随着ψs增加到超过中Φt,n表面急剧地增加,在ψs=2ΦF点上,正如从式(2.4.11a)[应是(2.4.11b)——译者]和(2.4.12)可知,n表面=Po≈NA。
如果衬底由n型材料制成,则上述曲线应该作相当明显的修正。这种情况下,如果VGB足够负,则空穴将被吸引到表面,因此反型层将由空穴组成。耗尽区中的不可动电荷将由带正电的电离施主组成。当VGB足够正时,电子将在表面堆积起来而成为积累状态。由于n型衬底的情况与p型衬底的情况是互补的,故将不予以分别讨论。
一般分析
在上面定义的三个工作区中,就本书的目的而言,反型最为重要。这一工作区将在下节,中详细分析。可是此刻应当指出,进行一般分析是可能的。通过一般分析,可对任意VGB,确定ψs和Q´c的值是处于积累,耗尽,还是反型。虽然这种一般分析在本书中用处不大,但是为了完整性,我们将概括地说明有关这种分析的原理。数学上的细节问题将留给附录F。现在我们来考虑衬底中(图2.4)坐标为的一点,且令
为该点相对于体内的电势。根据式(1.2.7),可得9处的电子浓度:

在表面上,该式简化为式(2.4.10)。按照式(1.2.11),同样可得y处的空穴浓度:

一般情况下,必须允许氧化层下面既有电子又有空穴,因此根据式(1.2.12)可知,电荷密度为

把式(2.4.13)和(2.4.14)代入式(2.4.15),可将泊松方程(1.2.13)写成如下的形式:

借助于式(2.4.16)以及式(2.4.13)至(2.4.15),对于给定的ψs,便可确定
,
,
和
,以及对应的氧化层下面的单位面积总电荷Q´c(附录F)。遗憾的是,只有Q´c才能导出闭式解,而其余各量都满用数值方法计算。如附录F所指出,我们得到

式中
,与式(1.5.10)中所定义的常数相同(F=0.00579 fC●μm-1/2.V-1/2),F前面的负号用于ψs>0时(耗尽或反型),正号用于中ψs<0时(积累)。
为使基本方程组齐全,可用下式把栅上的单位面积电荷Q´G与氧化层两端的电势差ψox以及单位面积氧化层电容C´ox联系起来:

我们现在已经导出了4个方程,它们完整地表征了我们所假设的MOS结构。这些方程是式(2.3.1),(2.3.3),(2.4.17)和(2.4.18),其中包含了4个未知量:ψox,ψs,Q´c和Q´G。求解这组方程(原已知道用数值法求解)可对一个给定的MOS结构(即给定中ΦMS和NA)和给定的外加电压VGB提供上述未知量的值。根据解得的中ψs,便可确定
,
,
和
,这已讨论过了。
上述分析是复杂的。其复杂性部分来源于追求全面的通用性,即要求这种分析对于积累、耗尽和反型等工作区都适用。本书中,积累和耗尽区的性质只在计算MOS晶体管截止时的某些寄生效应时才需要(第7章)。与此相反,反型则是造成MOS晶体管中电流导通的原因,对我们来说更为重要。若把注意力集中在这一区域上,则采用某种近似是可能的,在下节中将可看到,这种近似简化了MOS结构的分析。
联系方式:邹先生
联系电话:0755-83888366-8022
手机:18123972950
QQ:2880195519
联系地址:深圳市福田区车公庙天安数码城天吉大厦CD座5C1
请搜微信公众号:“KIA半导体”或扫一扫下图“关注”官方微信公众号
请“关注”官方微信公众号:提供 MOS管 技术帮助

