信息来源: 时间:2021-12-3
由于几何因素的影响,扩散平面p-n结的典型雪崩击穿电压远低于图4.20对一维硅阶跃结给出的数据。用常规平面工艺技术形成p-n结的方法是:使高浓度的杂质原子通过二氧化硅掩膜层上的矩形“窗口”向极性相反的硅衬底扩散。采用这种工艺技术时,会从“窗口”边缘进行横向扩散,其扩散距离近似等于在硅衬底本体内进行垂直扩散的距离。MOS管P-N结曲率击穿电压。因此,在这样的平面结构中,横向扩散量可与结深相比较,而且从图4.21可见,通过矩形窗口进行扩散而实际形成的结构中,结本身是平面、柱面和球面区域的组合13。从图4.21还可看出,柱形和球形区域的曲率半径γj,近似等于结深。如果结深极浅,则曲率半径就很小。

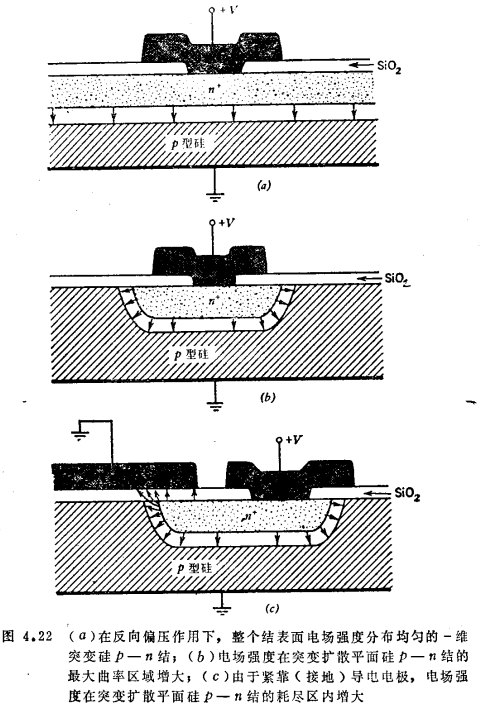
众所周知,对于轻掺杂一侧给定的杂质浓度,扩散平面结的雪崩击穿电压将随结深的减小而下降。这是上面已经讨论过的雪崩击穿电压是结耗尽区内电场强度的作用非常强这一事实的直接结果。假如耗尽区内的电场分布是不均匀的,那末在电场强度最高的点将首先击穿。MOS管P-N结曲率击穿电压。某些结的几何形状会改变耗尽区内的电场分布,并集中或强化特定区域内的电场,使此区域特别容易发生早期击穿14-17。这个效应表示在图4.22中。在反向偏压条件下,如图4.22(a)表示的一维阶跃结的特征是:耗尽区宽度均匀,而且耗尽区内的电场分布不随结表面的位置(沿横向)发生变化。不过,正如图4.22(b)所见,在浅扩散平面结中,曲率最尖锐的区域附近电场强度最高。

因为电场强度较高,在给定的反向偏压下,这些区域在较低的电压下就会发生雪崩击穿。结的一个特定区域的曲率半径越小,在此区域内的电场强度就越高,结的击穿电压就越低。一个极好的比拟是:在有强入射电场存在时一个良导体的情况,该电场是对附近一个电极施加一个相当高的电压而形成的。MOS管P-N结曲率击穿电压。在导体尖端部分或曲率最大的区域将发生击穿(火花穿过间隙)。与此相似,雪崩击穿将发生在p-n结的曲率最大的区域。一般来说,如果结构内最小曲率半径可以同一维结构的耗尽区宽度相比或更小时,那末,对于浅扩散p-n结,雪崩击穿电压的观测值比类似的一维二极管结构预计值要小得多。
史西蒙(Sze)和吉本斯(Gibbons)17已经计算了在室温条件下柱面和球面突变硅阶跃结曲率对雪崩击穿电压的影响。这些作为结的高电阻率一侧的杂质掺杂浓度的函数的计算结果表示在图4.23中。对于曲率半径为无穷大的情况,相当于一维近似,可以看到,击穿电压的计算值趋近于图4.20给出的数据。

联系方式:邹先生
联系电话:0755-83888366-8022
手机:18123972950
QQ:2880195519
联系地址:深圳市福田区车公庙天安数码城天吉大厦CD座5C1
请搜微信公众号:“KIA半导体”或扫一扫下图“关注”官方微信公众号
请“关注”官方微信公众号:提供 MOS管 技术帮助

