信息来源: 时间:2021-11-30
在前一节中,已经证明当栅-源电势保持常数,而漏极电压从零开始增加时,漏-源微分电导逐渐减小,直到电流达到饱和。在一级近似范围内,如果漏电压大于
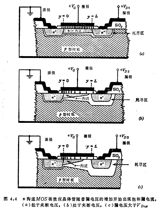
,而小于漏极二极管击穿电压(漏衬组成的二极管承受的反向偏压),则漏-源电流与外加漏极电压无关。MOS管饱和区电流。参考图4.4,即不难理解漏-源电流饱和的物理基础。如图4.4(a)所示,对于用
的中等高电阻率衬底制作的n沟道MOS场效应晶体管,在外加正值栅压(+VD1)较小的情况下,只要

感应沟道可以延伸到漏源之间的整个区域。如果沟道内任意一点的电势用V(y)表示,此处有

如果全部栅压假定统统加在栅极绝缘物上,那末,作为y函数的绝缘物内的垂直电场强度等

在漏源处的边界条件分别为

所以,当外加漏电压等于+VD1时,显然,由(4.31)给出的栅极绝缘物的电场强度,其在源区附近的值将大于其在漏区附近的值。因此,用以终止这个电场的所需要的负表面电荷密度,作为y的函数将以相同方式变化。因而,在反型层中源区附近的电子载流子总的浓度最大,随着y的增加而平稳地减小。
当漏电压数值上增加时,作为y函数的氧化层电场的变化更为明显,在漏极附近的沟道内的自由载流子浓度将下降。当漏电压增加到+VD2值时

栅极氧化物在y=L处的电场强度,由(4.31)将等于

沟道内源区附近的电子浓度将保持不变,因为源区保持零电位,氧化物内y=0处的电场强度将不随外加漏极电压的变化而改变。从阈电压的定义,(4.35)在y=L处要求
1.可动(电子)电荷密度必须等于零;
2.氧化物中的电场只以耗尽区电荷来终止。
因此,如图4.4(b)所示,VD=+VD2时,在y=L处形成表面耗尽区,在沟道漏端发生阻塞或“夹断”。在夹断时所形成的耗尽区长度远远小于沟道长度。MOS管饱和区电流。对于大于夹断电压的漏-源电压,沟道上的电压降实际保持常数,任何附加电压将加在耗尽区上,则耗尽区将向源区扩展而加宽,如图4.4(c)所示。

由于漏耗尽区扩展加宽,有效沟道长度将减小。然而,对于典型的MOS场效应晶体管结构,有效沟道长度的缩小与漏-源间距L相比是非常小的。对于一级近似,可以假定有效沟道长度是一个常数,而与外加漏电压无关。因此,在栅压恒定情况下,沟道电阻将保持常数。因为沟道的电压降和沟道电阻实际上都将保持常数,不随漏电压变化,由此可见夹断点以上的漏极电流也将在相当大的程度上保持常数。换言之,对于大于
的所有漏极电压,都可以观察到饱和漏电流,此处
由(4.26)给出。正如从方程看出,与饱和电流相对应的漏电压将随栅压的增加而增加。MOS管饱和区电流。对于典型n沟道MOS场效应晶体管,其
作为VG的函数特性如图(4.5)所示。

联系方式:邹先生
联系电话:0755-83888366-8022
手机:18123972950
QQ:2880195519
联系地址:深圳市福田区车公庙天安数码城天吉大厦CD座5C1
请搜微信公众号:“KIA半导体”或扫一扫下图“关注”官方微信公众号
请“关注”官方微信公众号:提供 MOS管 技术帮助

