信息来源: 时间:2021-4-12
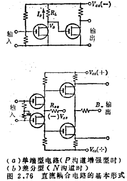
直流耦合放大电路是指输入级、输出级以及级间作直接耦合,或用电阻、齐纳二极管等耦合的电路,大致可分为图2.76所示的单端型(不平衡型)和差分型两种。单端型,因电源电压变化引起的漂移以及温度变化引起的漂移都较大,所以很少用于直流放大。但可用于不考虑漂移问题的交流放大电路。反之,差分型由于具有漂移补偿作用,所以漂移小、工作点也稳定,不仅适用于直流放大电路也适用于交流放大电路。像图2.76那样整个放大电路都用场效应晶体管构成的情形甚为罕见,多半是利用场效应晶体管输入阻抗高的特点,只在初级使用该种器件,这是由于场效应晶体管与双极型晶体管相比,其成本高并且增益-带宽乘积也较小的缘故。MOS场效应晶体管直流偏置电路。市售MOS场效应晶体管的gm为
左右。普通的小信号放大用的双极型晶体管与之相比,因其硅芯片面积很小,所以价格低廉。为了提高场效应晶体管电路的增益,须用大的负载电阻,电源电压相应也要提高,并且由于漏-栅间静电电容CDG的负反馈作用,使频带宽度受到限制。


MOS晶体管原则上可能有图2.77所示的四种特性。

目前市售产品有其中的(A)N沟道耗尽型和(B)P沟道增强型。当栅-源电压VGS为零时,(A)有电流IDO流过,而(B)却处于截止状态。对于(B)不能定义零偏压下的漏电流IDO,但如该图的虚线所示,将特性曲线(B)相对于截止电压Vp(夹断电压)作一条对称的假想特性曲线,如假想特性曲线与ID轴相交的电流值为IDO,则两种晶体管都可使用下述的特性表达式。

式中

gm为

与
成正比。也就是说,若降低ID,gm亦下降。当次级也用场效应晶体管时,若电源电压一定,与漏相连的负载电阻可与ID成反比地增加,所以随着ID的低电平化,可得到较大的电压增益。例如对图2.76(a)的初级电路,若给定电源电压VB和漏电压VD,则有

从而由式(2.146)、(2.147),得电压增益为

显见为实现高增益化,以低电平工作为宜49)。制约高增益化的实际条件是,随着低电平化噪声将增加并且频带宽度亦因前述的密效应而变窄。另外,当次级用极型晶体管时,gm越高越好,故以增加ID为宜。若极端地降低ID,式(2.144')就不成立。MOS场效应晶体管直流偏置电路。其理由是,若沟道夹断,载运电流的多数载流子就消失,少数载流子就变成电流的载运者,所以,此时ID与栅电压呈指数函数关系50)。一般商品场效应晶体管,以
为界,由式(2.144')的平方律特性转变为式(2.149)的指数特性。

图2.78是场效应晶体管的gm、μ(电压放大系数)以及
(漏电阻)与ID的关系示例。图中以ID=10μA为界由平方律特性转变为指数特性。

场效应晶体管也与真空管或双极型晶体管一样,有三种接地形式(参见图2.79)。为得到充分的放大量,应使放大电路工作在VD-ID特性的饱和区。
对图2.80(a)的ID-VD特性,虚线的右侧是饱和区。在此区域内

漏电流IDv可由式(2.144’)求得。
如图2.79(b)、(c)所示,于源端接入偏置电阻Rss时,由式(2.144')和

可求出为得到规定的ID所需的VGS,但这种求法不如图2.80(b)所示的图解法简单。该图系N沟道耗尽型的情形。若系差分放大电路(图 2.76(b)),两路的ID均流入Rss,所以取由图2.80(b)求得的Rss值的1/2即可。


为参考起见,各种接地型式的电压增益和输出阻抗列于表2.6,商品MOS晶体管的特性列于图2.81。

图2.82是交流放大器电路的例子。

漏电流大致规定为
。若系三级放大,还需要一级级联电路。

图2.83是MOS晶体管和双极型晶体管的典型级联法。

其中图(a)为源接地型和发射极接地型的级联,(b)为另一种级联形式。若(a)的双极型晶体管的输入阻抗ri2远小于R1,则其电压增益Gυ为

式中
gm为场效应晶体管的跨导
为双极型晶体管的电流放大系数
在(b)的场合

增益同没有双极型晶体管的场合一样,但从场效应晶体管的漏看进去的阻抗低,因而适用于高频电路。由场效应晶体管集成化的级联电路为四极场效应晶体管,如图2.84(b)所示。图2.84(a)是其等效电路和级联方法。
图2.85是集成电路化的级联音频放大器的例子,输出功率为1W,频带宽度为0.1Hz~100kHz51)。图2.83(a)的Q1、Q2分别对应于图2.85的Q1、Q2,R1对应于Q4的集电极内阻,R2对应于Q6(背靠背连接的两个二极管)。MOS场效应晶体管直流偏置电路。Q3、D1是Q4的直流偏置元件。Q7至Q11是准互补推挽发射极跟随电路,其增益为1。从而,设Q1的跨导为gm,Q2的电流放大系数为
,则整个电路的增益G与式(2.152)一样,可写作


初级使用场效应晶体管,次级以后使用双极型晶体管的理由是,用小电容值的集成电路电容器(50pF)可得到大的输入耦合电路时间常数,防止了低频增益的下降;输出电路使用饱和电阻小的双极型晶体管,可改善电源效率。Q5用作稳定工作点的直流负反馈电阻,通过改变Q3的内阻来控制Q4的内阻。
联系方式:邹先生
联系电话:0755-83888366-8022
手机:18123972950
QQ:2880195519
联系地址:深圳市福田区车公庙天安数码城天吉大厦CD座5C1
请搜微信公众号:“KIA半导体”或扫一扫下图“关注”官方微信公众号
请“关注”官方微信公众号:提供 MOS管 技术帮助

