信息来源: 时间:2020-11-11
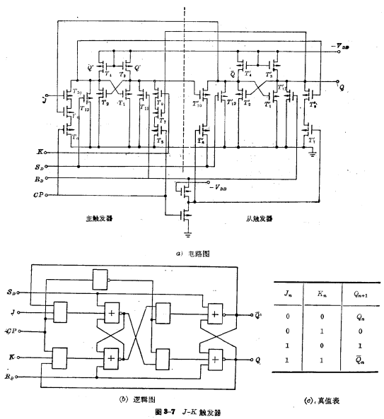
在上述主从R-S触发器的基础上,再作些改进,就构成如图3-7的J-K尽触发器。MOS J-K管触发器
J-K触发器也包括主触发器和从触发器,但区别于一般R-S主从触发器。它的特点是:从触发器的两个输出端Q和
,分别引回到
管的栅极,并由原来R-S触发器的S端改为J输入端,R输入端改为K输入端。因此在J-K触发器里,不仅从触发器要受到主触发器的控制,而主触发器也要受到从触发器的控制。MOS J-K管触发器这样改进以后,J-K触发器就比R-S触发器具有更完备的逻辑功能。下面进一步讨论它的工作原理。
当时钟脉冲
由“1”变成“0”(即
由“0”变成“1”)时,主触发器的状态不变,从触发器变成与主触发器相同的状态。当时钟脉冲
由“0”变成“1”时,从触发器的状态不变。主从触发器的状态变化可以分成以下四种不同的情况来讨论(参阅图3-7(a)真值表)。

①J、K两个输入端都是“0”。这时
都截止,把输出端
和
对地的通道截断,所以主触发器的状态不变。MOS J-K管触发器,当时钟脉冲
由“1”变成“0”,从触发器的状态也不变。例如原状态为“0”(主触发器和从触发器都为“0”),当
时,主触发器的“0”传给从触发器,所以,从触发器的状态仍然是“0”。
②J和k两个输入端都是“1”。这时
都导通。由于
的栅极是接从触发器的输出端的
和
的,所以总有一个导通。假如原状态为“0”,即
,则
截止,
导通。当时钟脉冲
由“0”变到“1”时,
导通。于是
一路全导通,而
一路不导通。这样就使导通的一路输出端
由“1”变到“0”,
由“0”变到“1”,主触发器就完成了一次翻转。当时钟脉冲
由“1”变到“0”时,从触发器也跟着翻转一次。
③
。这时
截止,
导通,这又可分两种情况来分析。如果原来主触发器处于“1”状态,从触发器也跟着处于“1”状态,使
截止而
导通,这样
和
矿对地的通道都被载断,当时钟脉冲由“0”变成“1”时,主触发器保持“1”状态;如果原来主触发器处于“0”状态,从触发器也跟着处于“0”状态,则
导通,而
截止。当时钟脉冲由“0”变成“1”时,
一路对地导通,使主触发器变成“1”状态。总之,不管原来的状态是什么,时钟脉冲
由“0”变成“1”以后,主触发器都会处于“1”状态,当时钟脉冲由“1”变成“0”时,从触发器也跟着变成“1”状态。
④
。根据类似的分析,不管触发器原来处于什么状态,时钟脉冲
由“0”变成“1”以后,主触发器会处于“0”状态。
图8-8是J-K触发器的波形图,图中
和
代表输出电平(即从触发器的输出电平),为了明白来见,还画出了主触发器一个输出端
的电平。MOS J-K管触发器,由图可见,从触发器总是跟着主触发器变化,只不过在时间上延迟一些,因为主触发器的变化发生在
由“0”变成“1”时,而从触发器的变化发生在
由“1”变成“0”时。

主从R-S触发器当输入端R和S都是“1”时,它的输出状态是不确定的,而J-K尽触发器克服了这一缺点,不管输入端J和K区有什么样的电平,它的输出状态都是确定的。J-K触发器的功能比较完善,所以用途较广。例如当输入端J和K都是“1”时,触发器翻转一次,因此可以作为计数器用。
联系方式:邹先生
联系电话:0755-83888366-8022
手机:18123972950
QQ:2880195519
联系地址:深圳市福田区车公庙天安数码城天吉大厦CD座5C1
请搜微信公众号:“KIA半导体”或扫一扫下图“关注”官方微信公众号
请“关注”官方微信公众号:提供 MOS管 技术帮助
